Inicio       Antecedentes       Descripción       Instalación       Uso


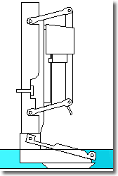
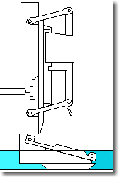
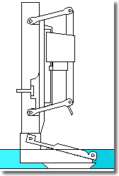
Descargue la cisterna
y cierre el paso de
agua.

Coloquelo sobre el
tubo de descarga.


Fíjelo con un click.



Ensaye el mejor
ahorro (más arriba
m&aacuete;s ahorro).

Abra el paso de
agua.Listo para
usar
.

© Webmaster